QXS 桥式吸砂机
用途与简介
桥式吸砂机主要用于污水处理厂(站)的平流式曝气沉砂池,提取沉砂池底部的沉砂。吸砂机在钢轨上沿沉砂池长度方向来回运动,机上的吸砂泵(潜污泵)将池底的砂水混合物吸排至排水沟,或提升至一定的高度,进入配套设备(砂水分离器)进行分离,与旋流沉砂器功能主要区别在于机上可设置撇渣板将水面上的浮渣刮至池末端的渣槽中。若只需撇渣功能则与 SD 型刮沫机功能相似。
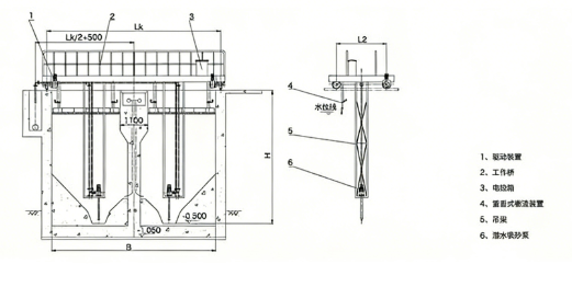
主要结构和工作原理
该设备采用移动桥式、泵吸式,当吸砂机不工作时,即停在进水端;当吸砂机工作时,行车在电气控制的指令下,当顺水流行驶时,先放下撇渣板,刮集浮渣并撇向池端钢制撇渣槽内;反向行驶时,撇渣耙提升,离开液面以防浮渣逆行;池底砂水由吸砂泵通过吸管将其排入池边集砂槽内,再由此通过管道而流入砂水分离器内,进行下一步处理。依此作往返工作运动,从而达到吸砂、排砂、撇渣的目的。
主要特点
- 往复式吸砂、撇渣,效率高。结构简单;
- 采用涡流式低扬程潜水泵吸砂,不需要引水操作、无堵塞、耐磨损,安全可靠,单向撇渣,池面较洁净;
- 沉砂经曝气环流,砂粒上的有机物已洗净,排出砂粒无臭味;
设备操作简便,可直接就地 / 远程控制设备的运行。
型号说明

结构形式

型号及主要技术参数

订货须知
- 根据技术性能结合工艺要求,注明型号规格及吸砂泵规格、池深 H、轮距 Lₖ 等参数,不注明表示按表中数值订货。
- 电控箱、轨道、输配电装置(滑导线)、气提泵、所有预埋件、集渣管(或槽)等所有配套设备(或配套件)应另外订货。
- 需要双速行走或桥上自带砂水分离器,以及其它特殊情况,可提出要求,另索资料,商量订货。
- 设备若有气源场合,可考虑气提除砂形式。